Возможно! Вы из неё корпуса льёте? Тогда действительно ни чего не понял...RTM писав:Насколько я понял, Вы ничего не поняли.Pantograph писав:Привратно понял. Вы про формы. А я про изделие (корпус локомотива). Тогда конечно, 2-3 минуты и материал умер.
Смола жидкая, двухкомпонентная.За две минуты её надо тщательно перемешать, залить в формы и формы поставить в камеру.Загустевание происходит в считанные секунды, в зависимости от объёма.
Мои детальки
-
Pantograph
- Повідомлень: 202
- З нами з: 11 лютого 2017, 13:13
- Имя: Vlad
- Звідки: KIEV
- Мой типоразмер: H0, 1:72
- Has thanked: 2 times
- Been thanked: 4 times
Re: Мои детальки
«Сто грамм не стоп-кран: дёрнешь — не остановишься!»
-
Pantograph
- Повідомлень: 202
- З нами з: 11 лютого 2017, 13:13
- Имя: Vlad
- Звідки: KIEV
- Мой типоразмер: H0, 1:72
- Has thanked: 2 times
- Been thanked: 4 times
Re: Мои детальки
Смысл? Смолу при существенных колебаниях, особенно в+ ещё как ведёт. У нас летом, последнее время +35 не проблема.pit писав:Крупные тонкостенные детали действительно стоит переливать в смоле...Pantograph писав:Действительно очень интересно чем можно это всё красить,так что бы на века. Если не затруднит, то поэкспериментируйте как себя Ваш полимер ведёт с растворителями, ацетон, 646-647. Определённо есть интерес к Вашим услугам.
«Сто грамм не стоп-кран: дёрнешь — не остановишься!»
- RTM
- Повідомлень: 207
- З нами з: 13 серпня 2015, 20:22
- Имя: RTModels
- Звідки: Кривий Ріг
- Мой типоразмер: H0
- Has thanked: 64 times
- Been thanked: 210 times
- Контактна інформація:
Re: Мои детальки
Эту роковскую модель я выкупил после того, как её покорёжило на солнце.Она стояла рядом с моим смоляным Кразом.Pantograph писав: Смысл? Смолу при существенных колебаниях, особенно в+ ещё как ведёт. У нас летом, последнее время +35 не проблема.
Модели из качественной смолы стоят более двадцати лет без всяких повреждений а полистирол ведёт.Сесовский Икарус покарёжило в коробке.Даже Бравововские модели из металла "чумеют".
rtmodels.com.ua
t.me/rtm_kits
facebook.com/rtmkits
instagram.com/rtm_kits
t.me/rtm_kits
facebook.com/rtmkits
instagram.com/rtm_kits
- T-1000
- Повідомлень: 2589
- З нами з: 13 травня 2016, 23:55
- Имя: Вилен
- Звідки: Белополье
- Мой типоразмер: HO, H0
- Has thanked: 26 times
- Been thanked: 136 times
- Контактна інформація:
Re: Мои детальки
Зависит от того какой метал, может быть и сплавы розе и тп., неоднократно слышал от знакомых о таких сплавах, которые выливаются в кипятке воды. Потому метал металу рознь. Насчет смолы, ощущения довольно мутные и не однозначные.
Не может быть модель из смолы дороже модели из метала (латунь и тп., розе и селумины и прочее даже не всчет).
Опять же уточню, это лично мое мнение.
Не может быть модель из смолы дороже модели из метала (латунь и тп., розе и селумины и прочее даже не всчет).
Опять же уточню, это лично мое мнение.
- Muton
- Повідомлень: 3980
- З нами з: 11 травня 2015, 23:12
- Имя: Вітя
- Звідки: Київ
- Мой типоразмер: НО
- Has thanked: 1045 times
- Been thanked: 1170 times
Re: Мои детальки
ИМХО, модели надо сравнивать комплексно - деталировка, качество сборки, покраска и т.д. Можно из картона сделать шедевр, а из золота (металл, да еще и дорогой) отлить батон...T-1000 писав:Не может быть модель из смолы дороже модели из метала (латунь и тп., розе и селумины и прочее даже не всчет).
Опять же уточню, это лично мое мнение.
-
pit
- Повідомлень: 81
- З нами з: 08 січня 2020, 22:03
- Имя: Пётр
- Звідки: Днепр
- Мой типоразмер: TT, H0
- Has thanked: 18 times
- Been thanked: 33 times
Re: Мои детальки
Ацетон быстро достать не удалось. Пока поэкспериментировал с 646 растворителем.Pantograph писав:Действительно очень интересно чем можно это всё красить,так что бы на века. Если не затруднит, то поэкспериментируйте как себя Ваш полимер ведёт с растворителями, ацетон, 646-647. Определённо есть интерес к Вашим услугам.
Вот эта пластинка пролежала в 646 10 минут. Геометрия не изменилась. Поверхность не оплавилась. После высыхания геометрия не изменилась.
Кусочек той-же пластины покрыл нитролаком тонким и толстым слоем. От нитролака его немного повело. Нитролак держится очень прочно. Сделать царапины удалось только отверткой. Еще одну пластинку покрыл алкидной автомобильной эмалью из баллончика. На геометрию это никак не повлияло. Но краска держится не очень прочно. Можно с царапать ногтем. Есть опыт покраски алкидным автомобильным грунтом из аэрографа. С последующей окраской акрилом. Грунт разбавлялся 646. Держался очень хорошо. На геометрию пластика грунт не повлиял.
Эксперименты по подбору краски ставил на неудачно отпечатанной детали от вагона. Коричневый фон - это автомобильный алкидный грунт. Остальное - акрил. Грунт удалось поцарапать только отверткой.
Лицевая сторона окрашена акрилом в два слоя (без грунтовки). Часть маленьких темных пятен - это попытки содрать краску ногтем. Большое темное размытое пятно - эксперименты по "погодному состариванию".
-
pit
- Повідомлень: 81
- З нами з: 08 січня 2020, 22:03
- Имя: Пётр
- Звідки: Днепр
- Мой типоразмер: TT, H0
- Has thanked: 18 times
- Been thanked: 33 times
Re: Мои детальки
Дело в том, что это случайный результат. Акриловая краска без грунтовки плохо держится на фотополимере. И кода я нанес кисточкой сильно разбавленную водой и спиртом (1/1) черную краску, Часть коричневой отмокла и пошла пузырями. Я эти пузыри той же кисточкой по отрывал. Когда все высохло, появились задранные края коричневой краски. Как-то так.T-1000 писав:Очень даже хорошо вышло! Расскажите про состаривание, что и как делали?
-
Pantograph
- Повідомлень: 202
- З нами з: 11 лютого 2017, 13:13
- Имя: Vlad
- Звідки: KIEV
- Мой типоразмер: H0, 1:72
- Has thanked: 2 times
- Been thanked: 4 times
Re: Мои детальки
Имелось ввиду не что лучше, так как есть пластиковые Пико которым по 50лет уже и не чего с ними, а о целесообразности переливать в смоле малое количество. Нет ни чего вечного, все без исключения материалы подвержены физическим изменениям в той, или иной степени.RTM писав:Эту роковскую модель я выкупил после того, как её покорёжило на солнце.Она стояла рядом с моим смоляным Кразом.Pantograph писав: Смысл? Смолу при существенных колебаниях, особенно в+ ещё как ведёт. У нас летом, последнее время +35 не проблема.
Модели из качественной смолы стоят более двадцати лет без всяких повреждений а полистирол ведёт.Сесовский Икарус покарёжило в коробке.Даже Бравововские модели из металла "чумеют".
«Сто грамм не стоп-кран: дёрнешь — не остановишься!»
-
Pantograph
- Повідомлень: 202
- З нами з: 11 лютого 2017, 13:13
- Имя: Vlad
- Звідки: KIEV
- Мой типоразмер: H0, 1:72
- Has thanked: 2 times
- Been thanked: 4 times
Re: Мои детальки
Pit спасибо за развёрнутый эксперимент. Остался ещё один вопрос, есть ли варианты по цвету полимера?
«Сто грамм не стоп-кран: дёрнешь — не остановишься!»
-
pit
- Повідомлень: 81
- З нами з: 08 січня 2020, 22:03
- Имя: Пётр
- Звідки: Днепр
- Мой типоразмер: TT, H0
- Has thanked: 18 times
- Been thanked: 33 times
Re: Мои детальки
Пока цвет только один "зелено-голубой". В принципе, в продаже есть фотополимеры разных цветов, но все-равно далеко не всех цветов радуги. И цены на них значительно отличаются. И свойства отличаются. К каждому новому нужно "приспособится", потратив часть на неудачные эксперименты. Так что целесообразно иметь несколько основных (белый, черный, серый). Ну или вместо серого любой, который подходит по цене и удобству использования. Ну и остальные цвета получать окрашиванием отпечатанного изделия. Белый и черный могут пригодится для деталей, которые подвержены интенсивному износу, и краска на них держатся не будет.Pantograph писав:Pit спасибо за развёрнутый эксперимент. Остался ещё один вопрос, есть ли варианты по цвету полимера?
-
Pantograph
- Повідомлень: 202
- З нами з: 11 лютого 2017, 13:13
- Имя: Vlad
- Звідки: KIEV
- Мой типоразмер: H0, 1:72
- Has thanked: 2 times
- Been thanked: 4 times
Re: Мои детальки
Для нашей темы в моделизме, очень хотелось бы ещё чёрный и красный. Во общем нужен красный старопиковский низ от 89. Думаю даже не мне одному. 
«Сто грамм не стоп-кран: дёрнешь — не остановишься!»
-
pit
- Повідомлень: 81
- З нами з: 08 січня 2020, 22:03
- Имя: Пётр
- Звідки: Днепр
- Мой типоразмер: TT, H0
- Has thanked: 18 times
- Been thanked: 33 times
СА-3
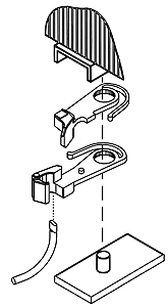
Все чесались руки сделать рабочую автосцепку СА-3. Долго рисовал 3D модель. И вот первые результаты. Принцип действия аналогичен kadee. Местами испачкана графитом для смазки. Проволочку пытался выгнуть так, чтоб с имитировать тормозной шланг. Автоматически зацепляется. И расцепляется над магнитом. Но пока есть ряд проблем, которые предстоит побороть. На сцепке умышленно не хватает некоторых деталей (например валика подъемника). Хотелось поскорее начать испытания, а не тратить время на детализацию. Но если получится заставить работать безотказно - детали добавлю.
- Барбос
- Повідомлень: 1718
- З нами з: 20 березня 2016, 18:18
- Имя: Саша
- Звідки: Запорожье
- Мой типоразмер: СЖД
- Has thanked: 531 times
- Been thanked: 526 times
Re: Мои детальки
Интересное дельце, приятно выглядит сцепочка
, мне нравится!
Задача сделать "рабочую" это конечно очень и очень круто
.
Мне несколько не понятен принцип работы, она сцепляется получается двумя тонюсенькими "волосками" в самом центре что ли? Они ведь очень тонкие, не выдержат нагрузки....
У настоящей сцепки нагрузка туда-сюда передаётся "по внешней" части "кулачка"..
вот так вроде бы:
Задача сделать "рабочую" это конечно очень и очень круто
Мне несколько не понятен принцип работы, она сцепляется получается двумя тонюсенькими "волосками" в самом центре что ли? Они ведь очень тонкие, не выдержат нагрузки....
У настоящей сцепки нагрузка туда-сюда передаётся "по внешней" части "кулачка"..
вот так вроде бы:
-
pit
- Повідомлень: 81
- З нами з: 08 січня 2020, 22:03
- Имя: Пётр
- Звідки: Днепр
- Мой типоразмер: TT, H0
- Has thanked: 18 times
- Been thanked: 33 times
Re: Мои детальки
Да. Зацепление происходит двумя маленькими крючками. На прочность их ещё не испытывал. Интересно, какое усилие должна выдерживать сцепка H0 на разрыв? Повторить настоящий механизм в таком масштабе пока не получается. Потому пробую сделать гибрид са-3 и аналога kadee . Хочется, чтоб сцепка была максимально похожа на настоящую. И размер крючков такой маленький, чтоб замаскировать их под детали замка. Основные проблемы, которые были выявлены, это само расцепление при прохождении зигзагов малого радиуса. И невозможность подцепить вагон, стоящий на повороте (авто сцепление происходит только на прямом участке).
В принципе, можно было бы попытаться сделать механизм замка аналогичный настоящему. Но как тогда сделать механику расцепления над магнитом? Может авто расцепление и не нужно вовсе? Сделать экземпляр работающий только на авто сцепление и расцеплять руками?
В принципе, можно было бы попытаться сделать механизм замка аналогичный настоящему. Но как тогда сделать механику расцепления над магнитом? Может авто расцепление и не нужно вовсе? Сделать экземпляр работающий только на авто сцепление и расцеплять руками?
- Muton
- Повідомлень: 3980
- З нами з: 11 травня 2015, 23:12
- Имя: Вітя
- Звідки: Київ
- Мой типоразмер: НО
- Has thanked: 1045 times
- Been thanked: 1170 times
Re: Мои детальки
Очень интересная работа!
Проблемы с зацеплением в кривой свойственны почти всем модельным сцепкам, потому сей момент я бы исключил из недостатков - штатная ситуация в нашем деле
А вот саморасцепление в "зигзагах" желательно полечить. Как и прочностные характеристики проверить. Например, поставить в головной вагон поезда ваши сцепки, сам поезд сформировать максимально длинный (и можно даже догрузить чем-то вагоны) - идея в том, чтобы на первую сцепку приходился весь вес состава. Если будет нормально ездить, без разрыва, то значит прочность удовлетворительная для эксплуатации на макете. Также не заморачивался бы повторением механизма замка СА3, предполагаю, что в НО это будет сложное и капризное устройство. Внешний вид и так уже отличный.
Проблемы с зацеплением в кривой свойственны почти всем модельным сцепкам, потому сей момент я бы исключил из недостатков - штатная ситуация в нашем деле
-
pit
- Повідомлень: 81
- З нами з: 08 січня 2020, 22:03
- Имя: Пётр
- Звідки: Днепр
- Мой типоразмер: TT, H0
- Has thanked: 18 times
- Been thanked: 33 times
Re: Мои детальки
Проблема в том, что у меня еще нет достаточного количества вагонов для такой проверки. По правде говоря, есть один BR 98 и два самодельных вагона (которые я не утяжелял, потому как нет опыта и понимания насколько нужно утяжелять). Был бы очень благодарен, если кто-то подскажет какую нагрузку (ориентировочно, в кгНапример, поставить в головной вагон поезда ваши сцепки, сам поезд сформировать максимально длинный (и можно даже догрузить чем-то вагоны) - идея в том, чтобы на первую сцепку приходился весь вес состава. Если будет нормально ездить, без разрыва, то значит прочность удовлетворительная для эксплуатации на макете.